Шнековый питатель
Шнековый питатель предназначен для подачи пеллет из бункера в горелку.
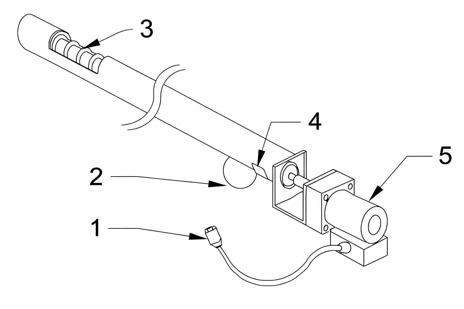
Состоит из следующих элементов:
1 – шнур питания; 2 – патрубок выхода пеллет; 3 – отверстие для забора пеллет; 4 – предохранительный клапан; 5 – мотор редуктор.
Общий вид шнекового питателя приведен на рисунке:

Шнековый питатель подключается к горелке специальным шлангом, который выполнен из плавкого материала, что служит мерой безопасности от возникновения обратного пламени. Шнековый питатель крепится с помощью крепежного комплекта к стенке, бункеру или потолку в зависимости от условий места установки. На рисунке визуально показано правильное расположение шнекового питателя по отношению к горизонту и горелки. При установке и эксплуатации следует соблюдать следующие рекомендации:
– отверстии забора пеллет должно располагаться вертикально вверх, при этом ничего не должно его перекрывать;
– патрубок выхода пеллет должен располагаться вертикально вниз;
– шнековый питатель должен находится относительно горизонта под углом 30- 45 градусов;
– горизонтальное расстояние между патрубком выхода пеллет шнекового питателя и патрубка пеллетоприемника горелки должно быть не менее 150 мм, при этом шланг подключения шнекового питателя и горелки не должен провисать или иметь изгибы более 30 градусов, это обеспечит беспрепятственную подачу пеллет.

Пример установки шнекового питателя
